1
/
of
2
LEMFORDER
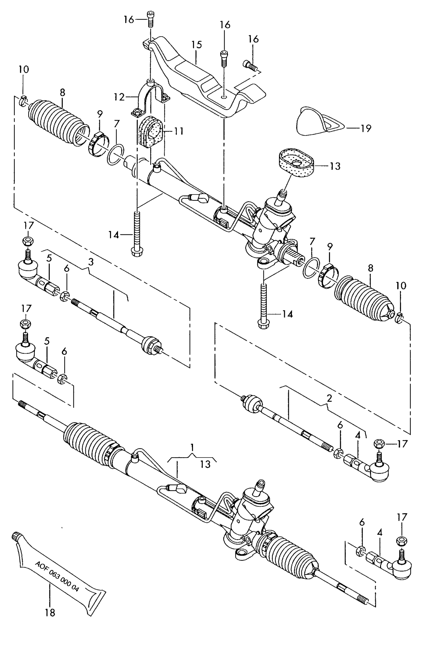
(4) 2598301 L/H OUTER TRACK ROD END A2 PR-1N2 only
(4) 2598301 L/H OUTER TRACK ROD END A2 PR-1N2 only
Regular price
£30.60 GBP
Regular price
£52.18 GBP
Sale price
£30.60 GBP
Taxes included.
Shipping calculated at checkout.
Quantity
Couldn't load pickup availability
AUDI A2 (8Z) 2000>2005 PR-1N2
Share
