1
/
of
2
METZGER Germany
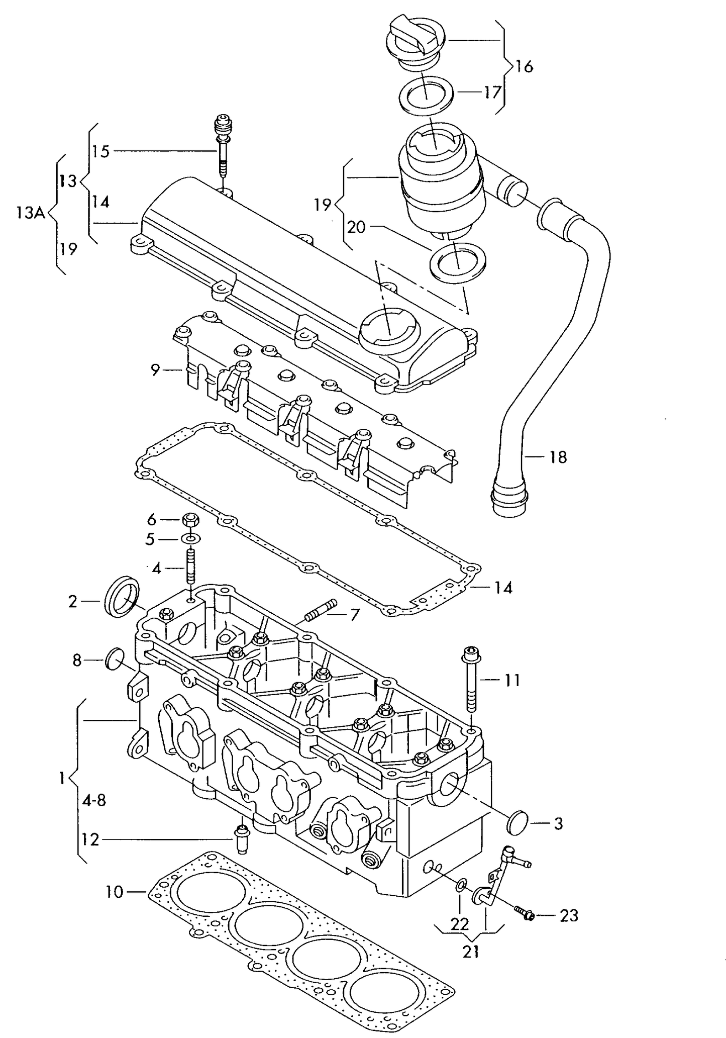
115414 Breather assy 1.6 AYD,BFS
115414 Breather assy 1.6 AYD,BFS
Regular price
£28.80 GBP
Regular price
£53.22 GBP
Sale price
£28.80 GBP
Taxes included.
Shipping calculated at checkout.
Quantity
Couldn't load pickup availability
| Oil Separator, crankcase ventilation |
Share
