1
/
of
2
Original Equipment Quality
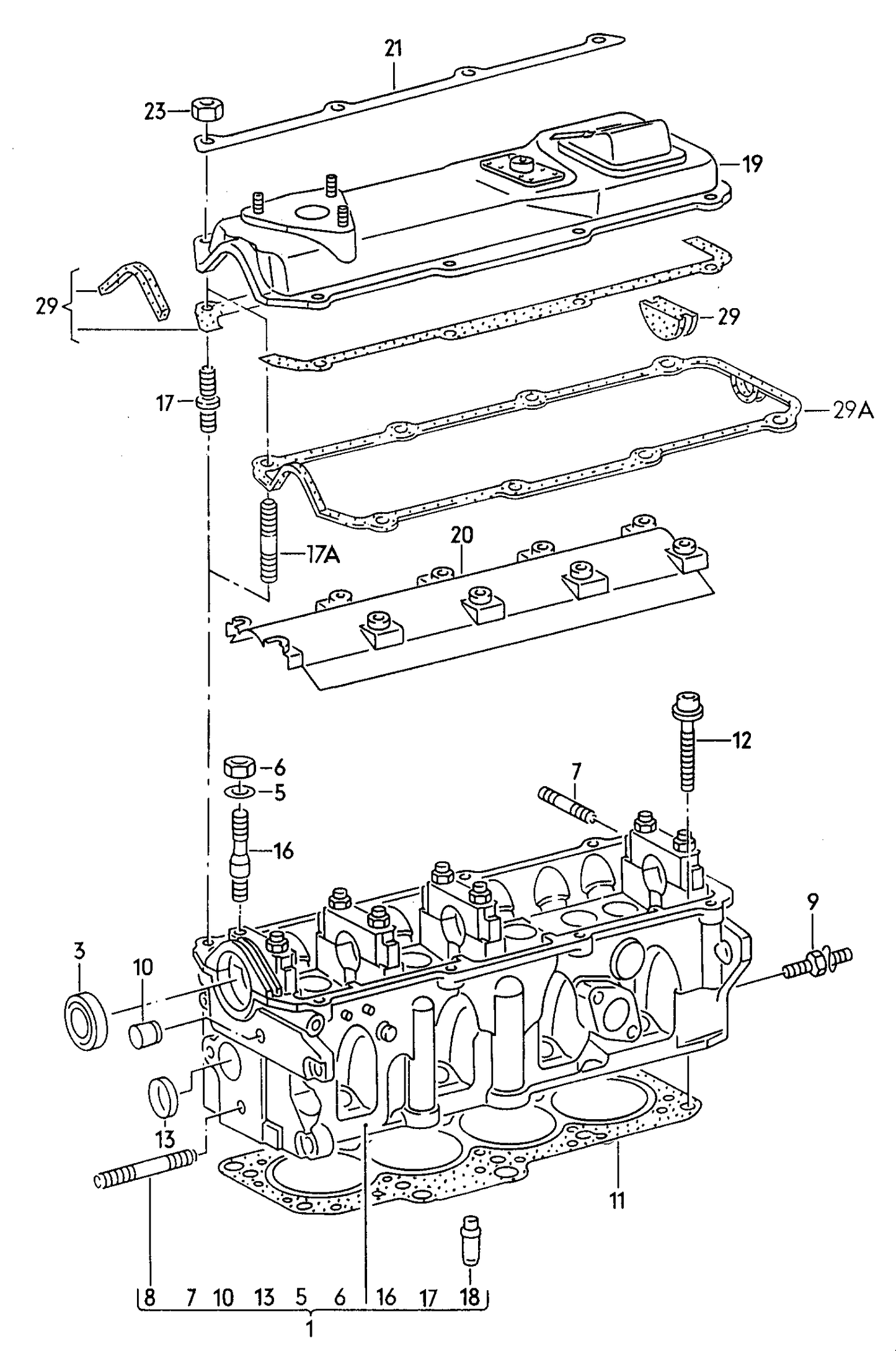
100200 FEBI Oil Scraper Plate, crankcase breather
100200 FEBI Oil Scraper Plate, crankcase breather
Regular price
£9.60 GBP
Regular price
£30.52 GBP
Sale price
£9.60 GBP
Taxes included.
Shipping calculated at checkout.
Quantity
Couldn't load pickup availability
| Fitting Position | Cylinder Head |
|---|
Share
