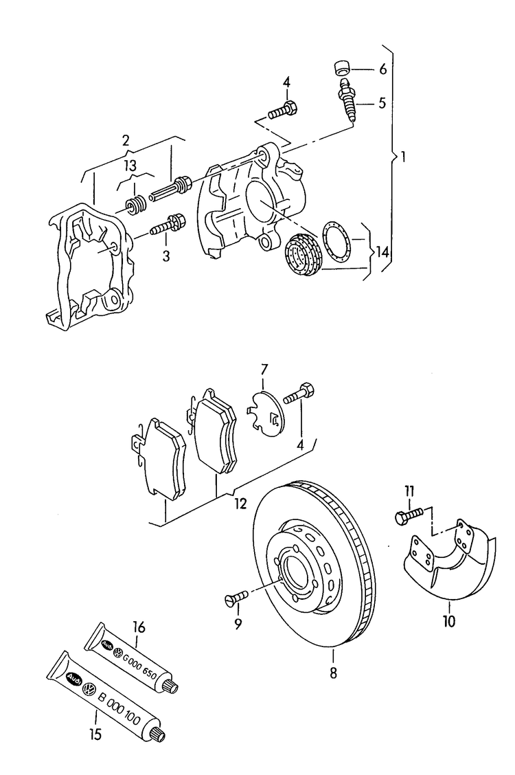
Collection: 615-025 G3 Front floating caliper brake brake caliper housing brake carrier with pad retaining pin brake disc (vented) F 1H-SP246 941>> 2E,ADY,AEP GT:ABS,ADZ, AEK,1Z "J..":2E,ADY ecomatic: 1Y
| № | Name | Ext. inf. | A* | Use of | Part number | A |
|---|---|---|---|---|---|---|
| floating caliper brake | ||||||
| floating caliper brake brake caliper housing brake carrier with pad retaining pin brake disc (vented) |
GL:2E GT:ABS,ABU, 1Z "J..":2E |
|||||
| 1 | brake caliper housing | 1 | ||||
| (1) | brake caliper housing | 1 | ||||
| 2 | brake carrier with pad retaining pin |
2 | ||||
| - | 1 set: brake caliper housing | 1 | ||||
| 3 | self-locking bolt | 4 | ||||
| 3 | self-locking bolt | 4 | ||||
| 3 | self-locking bolt | 4 | ||||
| 4 | bolt, hexagon head self-locking |
4 | 110710 | |||
| 5 | breather valve | 2 | 107504 | |||
| 6 | dust cap | 2 | ||||
| 7 | intermediate plate | 2 | ||||
| 8 | brake disc (vented) | 2 | 103408 | |||
| 9 | countersunk bolt | 2 | ||||
| 9 | countersunk bolt | 2 | ||||
| (10) | cover plate for brake disc | 2 | ||||
| 11 | hexagon bolt | 4 | ||||
| 11 | hexagon bolt | 4 | ||||
| 11 | hexagon bolt | 4 | ||||
| - | adhesive layer for brake pad |
1 | ||||
| 12 | 1 set of brake pads for disk brake |
1 | 109478 | |||
| 12 | 1 set of brake pads for disk brake |
1 | 109478 | |||
| (12) | 1 set of brake pads with wear display for disc brakes 'eco' economy |
1 | 109478A | |||
| 13 | 1 set protective sleeves for guide pins |
2 | ||||
| 14 | set of gaskets for brake caliper housing |
2 | 103627 | |||
| 15 | lithium lubricating grease | X | ||||
| 16 | solid lubricant paste | X |