Collection: 411-002 Golf mk5 (1K) Front suspension shock absorbers frt.-wh.dr.+ GTI
| № | Number | Description | Cnt | Date | |||
|---|---|---|---|---|---|---|---|
| suspension shock absorbers frt.-wh.dr.+ GTI front |
|||||||
|
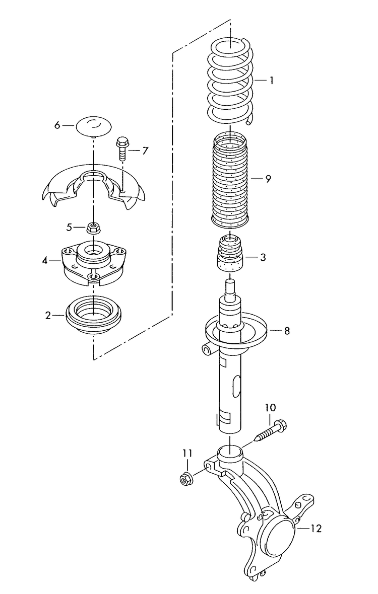
1
|
ACS1735
|
coil spring 2 paint marks 2 paint marks
PR-G11+L35
|
2
|
||||
|
1
|
|
coil spring 1 paint mark 1 paint mark 1 paint mark (use in pairs only)
yellow
white yellow PR-G08+L97
|
2
|
||||
|
(1)
|
993168
|
coil spring 1 paint mark 1 paint mark 2 paint marks (use in pairs only)
yellow
white yellow PR-G08+L98
|
2
|
||||
|
(1)
|
ACS1166
|
coil spring 1 paint mark 1 paint mark 1 paint mark (use in pairs only)
yellow
white orange PR-G08+L99
|
2
|
||||
|
2
|
109693
|
deep groove ball thrust bearng
|
2
|
||||
|
2
|
109693
|
deep groove ball thrust bearng optional:
6N0 412 249 E
|
2;2
|
||||
|
3
|
110065 |
rubber stop for shock absorber
70MM
PR-G11
|
2
|
||||
|
3
|
110068
|
rubber stop for shock absorber
55MM
PR-G08
|
2
|
||||
|
4
|
110070
|
suspension strut storage
|
2
|
||||
|
5
|
|
hexagon collar nut
M14X1,5
|
2
|
||||
|
6
|
not for this model
|
||||||
|
7
|
|
hex collared bolt F >> 1K-6-250 000 *
M8X26
|
6
|
05.2005 - 05.2006
|
|||
|
(7)
|
|
hex collared bolt
M8X26
|
6
|
||||
|
8
|
194146
|
gas shock absorber
PR-G08,G11
|
2
|
||||
|
9
|
110153
|
bellows
|
2
|
||||
|
10
|
27388
|
oval hexagon socket head bolt F >> 1K-6-250 000 *
M12X1,50X80
|
2
|
05.2005 - 05.2006
|
|||
|
10
|
27388
|
oval hexagon socket head bolt
M12X1,5X80
|
2
|
||||
|
11
|
116941
|
hexagon collar nut self-locking
M12X1,5
|
2
|
||||
grey