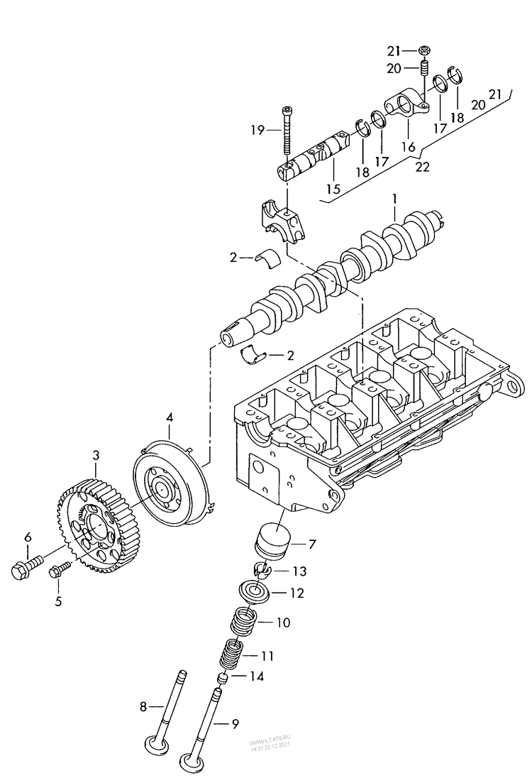
| № |
Name |
Ext. inf. |
qty* |
Use of |
Part number |
|
camshaft, valves |
|
|
diesel eng.+ |
|
| unit inject. |
| |
camshaft, valves |
1.9/2.0ltr. |
|
diesel eng.+ |
|
| BDK,BRU,BXF, |
| BKC,BXE,BLS, |
| BMM |
| 1 |
camshaft |
|
1 |
BDK |
50007582 |
| -1 |
camshaft |
|
1 |
BRU,BXF,BKC, |
29852
|
| BXE |
| -1 |
camshaft |
|
1 |
BLS,BMM |
50006342 |
| 2 |
camshaft bearing shell |
|
10 |
|
N1475
|
|
yellow |
|
|
|
N1475 |
| 3 |
toothed belt pulley |
|
1 |
|
|
| 4 |
hub |
|
1 |
BDK,BRU,BKC |
|
| -4 |
hub |
|
1 |
BXF,BXE,BLS, |
|
| BMM |
| 5 |
hex collared bolt |
M8X30 |
3 |
|
|
| 6 |
hexagon head bolt (combi) |
M12X1,5X35 |
1 |
|
|
| 7 |
tappets |
35 |
8 |
|
109174
|
| 8 |
inlet valve |
89,5 |
4 |
|
108106
|
| 9 |
exhaust valve |
89 |
4 |
|
108105
|
| 10 |
valve spring |
|
8 |
|
|
| 11 |
valve spring |
|
8 |
|
|
| 12 |
spring disc |
|
8 |
|
|
| 13 |
cotter, split |
|
16 |
|
|
| 14 |
valve stem seal |
|
8 |
|
100254
|
| 15 |
no replacement part |
|
|
|
|
| 16 |
no replacement part |
|
|
|
|
| 17 |
no replacement part |
|
|
|
|
| 18 |
no replacement part |
|
|
|
|
| 19 |
locating bolt |
M8X90 |
8 |
|
119150
|
| 20 |
adjusting screw with ball- |
M12X1,25X26,75 |
4 |
|
115129
|
| head |
| 20 |
adjusting screw with ball- |
M12X1,25X26,75 |
4 |
|
115129
|
| head |
| 21 |
hexagon nut |
M12X1,25 |
4 |
|
|
| 22 |
rocker arm shaft with |
|
2 |
|
|
| rocker arm |
| 22 |
rocker arm shaft with |
|
2 |
|
|
| rocker arm |
| - |
sealant |
125G |
1 |
|
|
| bearing cover |